08:04 | 02/03/2022 Tháng 2/2022: Xe nhập ngoại tăng 2,5 lần sau Tết Giaothonghanoi - Lượng xe nhập khẩu về Việt Nam trong tháng 2/2022 tăng tới hơn 2,5 lần so với tháng trước với giá trị trung bình 22.500 USD/chiếc.
19:26 | 01/03/2022 Toàn bộ nhà máy sản xuất của Toyota ở Nhật Bản tạm dừng hoạt động vì bị tấn công mạng Giaothonghanoi - Một cuộc tấn công mã độc ransomware nhắm vào nhà cung cấp của Toyota dẫn đến toàn bộ hệ thống nhà máy sản xuất của hãng phải dừng hoạt động trong một ngày, sự cố sẽ được xử lý và hoạt động trở lại vào này mai.
14:51 | 21/02/2022 Top 5 xe bán chạy tháng 1/2022: Accent, City vượt mặt Corolla Cross Giaothonghanoi - Top xe bán chạy tháng 1/2022 có sự xáo trộn đáng kể, 2 mẫu sedan hạng B là Hyundai Accent và Honda City lần lượt đứng đầu về doanh thu trong tháng đầu năm mới.
15:58 | 18/02/2022 Honda Civic 2022 mở bán tại Việt Nam Giaothonghanoi - Chiếc Honda Civic 2022 vừa được ra mắt tại Việt Nam với nhiều đột phá ấn tượng. Chiếc xe được nhập khẩu nguyên chiếc này, có giá giao động từ 730 triệu đến 870 triệu đồng.
15:02 | 16/02/2022 Tiêu thụ xe ô tô tháng 1 tăng 16% so với cùng kỳ năm ngoái Giaothonghanoi - Lượng tiêu thụ ô tô trong tháng 1/2022 vừa qua là tháng cao nhất trong cùng kỳ 3 năm trở lại đây, đánh dấu sự khởi sắc của thị trường nhờ sẵn nhiều ưu đãi.
08:28 | 09/02/2022 Đổ nhầm nhiên liệu có thể gây cháy ô tô hay không? Giaothonghanoi - Sự việc xe ô tô bốc khói do đổ nhầm xăng vào xe chạy diesel tại cao tốc Hà Nội - Hải Phòng mới đây đang thu hút sự chú ý và tranh luận nóng bỏng trên mạng xã hội cũng như cả những người am hiểu về ô tô.
08:27 | 09/02/2022 Đầu năm 2022, lượng ô tô sản xuất trong nước tiếp tục tăng mạnh Giaothonghanoi - Lượng ô tô sản xuất, lắp ráp trong nước tháng 1/2022 ước đạt 38.300 chiếc, tăng mạnh so với tháng trước và cùng kỳ năm 2021.
17:10 | 06/02/2022 Mazda sẽ ra mắt kiến trúc có thể mở rộng Skyactiv EV Giaothonghanoi - Mazda chuẩn bị phát hành ba mẫu xe điện mới vào năm 2025 sử dụng kiến trúc Skyactiv EV, kiến trúc này cho phép những chiếc xe có kích thước khác nhau được sản xuất trên cùng một dây chuyền sản xuất.
11:45 | 06/02/2022 Pin của Ford F-150 Lightning có thể cung cấp điện cho sinh hoạt gia đình trong tối đa ba ngày Giaothonghanoi - Ford bổ sung một tính năng mới cho chiếc xe điện F-150 Lightning để có thể cung cấp năng lượng cho ngôi nhà trong thời gian đến ba ngày.
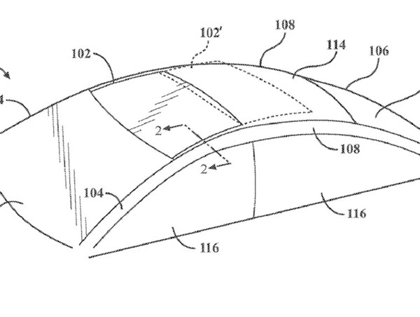
11:45 | 06/02/2022 Apple Car với sáng chế cửa sổ trời độc đáo Giaothonghanoi - Apple đã cấp bằng sáng chế công nghệ cửa sổ trời cho ô tô điện Apple Car của mình với việc sử dụng màn hình LED ở khắp nơi trên xe như một hệ thống thông báo mới.
Dự án Đại lộ cảnh quan sông Hồng: Vì sao được xem là biểu tượng mới của Thủ đô Hà Nội? 08:29 | 10/11/2025 1
TRỰC TIẾP: Tọa đàm trực tuyến “Phân loại rác thải tại nguồn – Từ cam kết đến hành động“ 08:27 | 07/11/2025
TRỰC TIẾP: Sinh viên Thủ đô với trách nhiệm xây dựng văn hóa giao thông văn minh, an toàn 10:04 | 29/10/2025